Tech Transfer

led by W. Patrick Arnott when at DRI and UNR

Photoacoustic Instruments
I built for other research groups
Max Planck Institute for Chemistry (with John Walker) University of Utah (with John Walker) Desert Research Institute Chow group (with John Walker) Desert Research Institute Fujita group
(with Ian Arnold)
Bay Area Air Quality Management District
(with Ian Arnold)
Lawrence Berkeley National Laboratory
(with Ian Arnold)
Michigan Tech University
(with Ian Arnold)

Newmont Mining Company

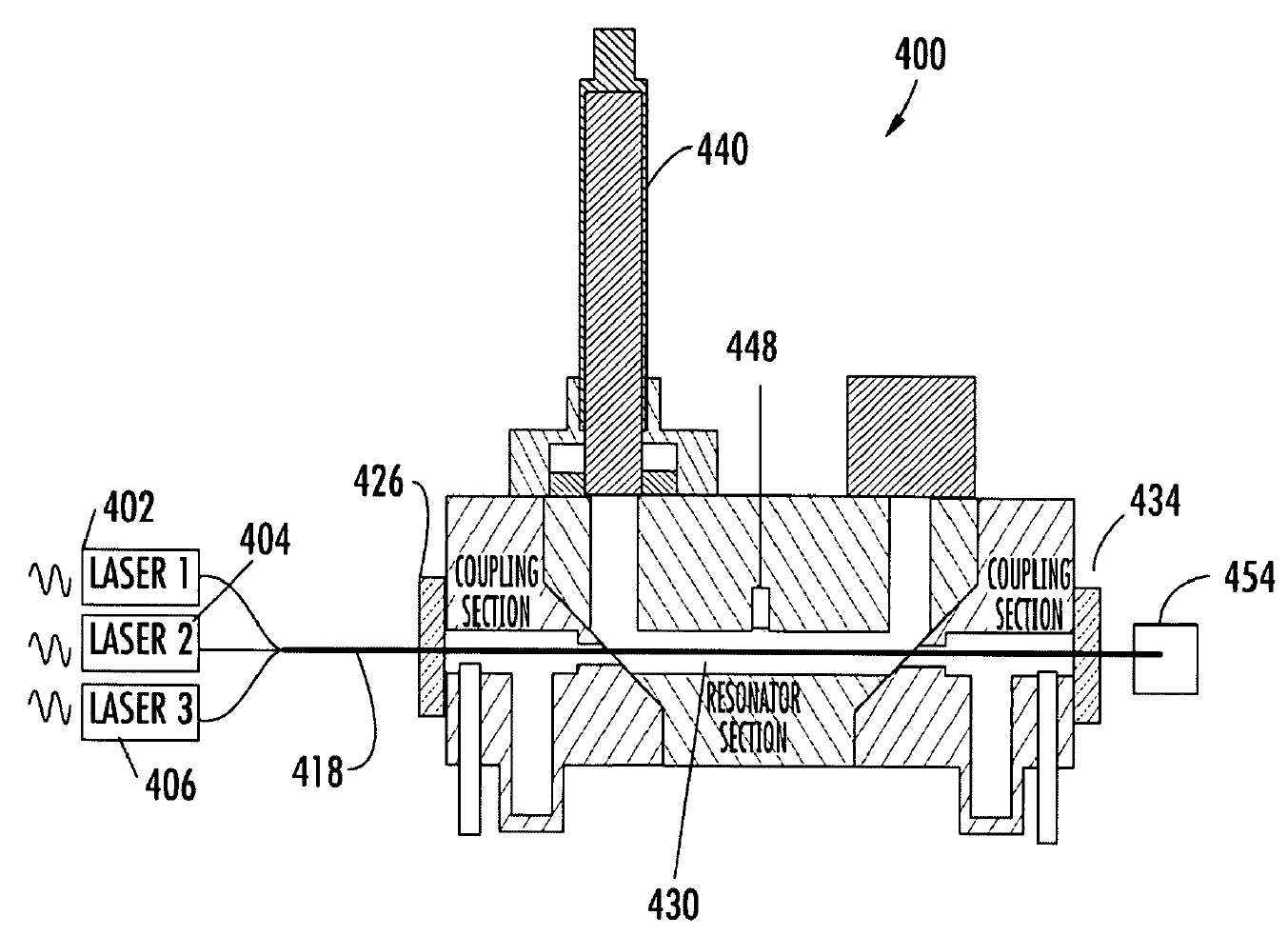
First photoacoustic instrument patent and tech transfer: Single wavelength photoacoustic instrument

(with John Walker and Hans Moosmüller)
6,662,627 Photoacoustic instrument for measuring particles in a gas. December 16, 2003. Pdf. MANUFACTURED BY
DROPLET MEASUREMENT TECHNOLOGY
Second photoacoustic instrument patent and tech transfer: Multiple wavelength photoacoustic instrument

(with Hans Moosmüller)
3. 7,710,566 Method and Apparatus for Photoacoustic Measurements. May 4th, 2010. MANUFACTURED BY
DROPLET MEASUREMENT TECHNOLOGY
Tech transfer of miniature photoacoustic instrument

(with Ian Arnold and Hans Moosmüller)
UNR Licensing agreement with DMT (image from DMT )

 

MANUFACTURED BY
DROPLET MEASUREMENT TECHNOLOGY
Acknowledgements
Rick Purcell DRI Mechanical Engineer Dan Wermers DRI Electrical Engineer Dr. Adel Sarofim MIT and Univ. Utah Professor Dr. Eric Fujita, DRI, for faciliting use of early instruments in many field campaigns Dave Campbell for struggling as a beta-customer to improve our designs Dick Bjur and Val Vikovsky, UNR Tech Transer Office Ryan Heck, UNR Tech Transfer Office and skillful patent attorney